Mandaci una email

sdepochwater@hotmail.com

Notizia

​Le caratteristiche e la classificazione delle valvole a saracinesca


Una valvola a saracinesca, nota anche come valvola a saracinesca, è una valvola la cui parte di apertura e chiusura è una piastra a saracinesca e che è azionata da uno stelo della valvola per spostare la piastra a saracinesca su e giù.


Le caratteristiche delle valvole a saracinesca


1) Vantaggi delle valvole a saracinesca: Bassa resistenza al flusso del fluido; La coppia richiesta per l'apertura e la chiusura è ridotta. La direzione del flusso del fluido non è limitata. Non si verifica alcun fenomeno di colpo d'ariete durante l'apertura e la chiusura. La struttura della forma è relativamente semplice e il processo di produzione è migliore.


2) Svantaggi delle valvole a saracinesca: Hanno dimensioni esterne e altezze di installazione relativamente grandi e richiedono uno spazio di installazione considerevole. Durante il processo di apertura e chiusura si verifica un attrito relativo sulla superficie di tenuta, con conseguente notevole usura. Anche a temperature elevate è soggetto a graffi. Le valvole a saracinesca hanno solitamente due superfici di tenuta, il che aggiunge alcune difficoltà alla lavorazione, alla rettifica e alla manutenzione.


Le valvole a saracinesca hanno una vasta gamma di applicazioni. Di solito viene utilizzato per condotte di approvvigionamento idrico con un diametro nominale di DN50 o superiore.



Classificazione delle valvole a saracinesca


Le valvole a saracinesca possono essere classificate in base ai metodi di connessione in valvole a saracinesca filettate, valvole a saracinesca flangiate e valvole a saracinesca saldate. In base alle caratteristiche strutturali, possono essere divise in piastre a cancello parallelo e piastre a cuneo. In base alla struttura dello stelo della valvola, possono essere classificate in valvole a saracinesca con stelo distinto (stelo di sollevamento) e valvole a saracinesca con stelo nascosto (stelo rotante).




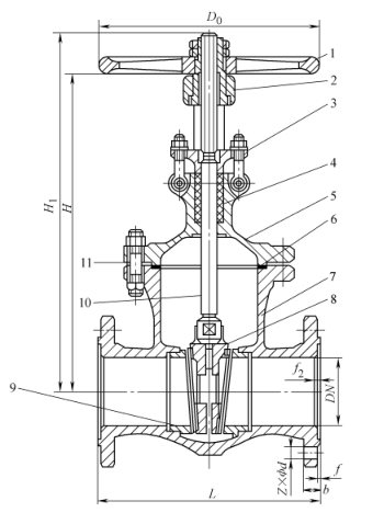
1) Valvola a doppia saracinesca parallela a stelo aperto: La valvola a doppia saracinesca parallela a stelo aperto è mostrata nella Figura 1. La sua saracinesca è composta da due dischi simmetrici e paralleli. Quando la saracinesca scende, il cuneo superiore posto nella parte inferiore della saracinesca fa sì che le due saracinesche si espandano verso l'esterno e premano saldamente contro la sede della valvola, chiudendo così ermeticamente la valvola. Quando il cancello si alza, il cuneo si sgancia dal disco. Una volta che il disco raggiunge una certa altezza, il cuneo viene sollevato dalle sporgenze del disco e si solleva insieme al cancello. Questa valvola ha una struttura semplice. La lavorazione, la rettifica e la manutenzione della sua superficie di tenuta sono tutte più semplici di quelle della saracinesca a cuneo. Tuttavia, le sue prestazioni di tenuta sono relativamente scarse. È adatto per fluidi con una pressione non superiore a 1,0 MPa e una temperatura non superiore a 200 ℃.



Figura 1: Valvola a doppia saracinesca parallela con stelo ascendente


1. Volantino 2- dado stelo valvola 3- stelo valvola 4 - premistoppa 5 - baderna 6 - coperchio valvola

7 - Guarnizione 8 - Anello di tenuta 9- Corpo valvola 10- Saracinesca 11 - Cuneo superiore


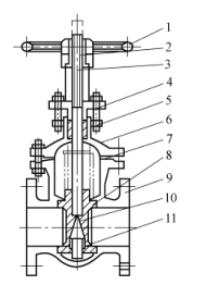
2) Valvola a saracinesca a cuneo con stelo nascosto: come mostrato nella Figura 2, la superficie di tenuta di questa valvola è inclinata e forma un angolo. Maggiore è la temperatura media, maggiore è l'angolo. Le piastre con cancello a cuneo sono classificate in piastre con cancello singolo, piastre con cancello doppio e piastre con cancello elastico, come mostrato rispettivamente nelle Figure 2a, b e c. La lavorazione, la rettifica e la manutenzione delle piastre a saracinesca a cuneo sono più complicate di quelle delle piastre a saracinesca parallela, ma hanno prestazioni di tenuta migliori.


Figura 2 Valvola a saracinesca a cuneo con stelo nascosto


a) Cuneo piastra anta singola b) Cuneo piastra anta doppia c) Cuneo piastra anta elastica


1. Volantino 2. Indicatore 3. Coperchio 4. Premistoppa 5. Premistoppa 6. Coperchio valvola

7- Stelo valvola 8 - Dado stelo valvola 9, 12 - Anello di tenuta 10 - Corpo valvola 11 - Piastra saracinesca 13 - Guarnizione


La valvola a saracinesca elastica è mostrata nella Figura 3. Presenta i vantaggi di una struttura semplice e di un utilizzo affidabile e può produrre una piccola deformazione elastica, che aumenta la tenuta della chiusura.



Figura 3 Valvola a saracinesca elastica


1. Volantino 2- dado stelo valvola 3 - premistoppa 4 - baderna 5 - coperchio valvola 6 - guarnizione

7- Corpo valvola 8 Piastra saracinesca 9 - Anello di tenuta 10 - Stelo valvola 11 - Bullone di connessione


In una valvola a saracinesca con stelo saliente, la filettatura dello stelo della valvola si inserisce in un dado a manicotto dotato di volantino. L'estremità inferiore dello stelo della valvola ha una testa quadrata, incastrata nella piastra della saracinesca. Quando si gira il volantino, lo stelo della valvola e la piastra della saracinesca si muovono su e giù. Durante l'apertura, lo stelo della valvola fuoriesce dal volantino. Il vantaggio è che il grado di apertura della valvola può essere giudicato dalla lunghezza estesa dello stelo della valvola e lo stelo della valvola non entra in contatto diretto con il mezzo trasportato. Lo svantaggio è che la valvola ha un'ampia altezza di apertura e il luogo di installazione deve avere spazio sufficiente affinché lo stelo della valvola possa estendersi verso l'esterno. Durante l'installazione in loco, prestare attenzione a questo punto. La filettatura esterna dello stelo della valvola a saracinesca con stelo nascosto si adatta alla filettatura interna incorporata nella valvola. Pertanto, quando si gira il volantino, lo stelo della valvola ruota, provocando il movimento su e giù della saracinesca all'interno della valvola, ma lo stelo della valvola non può muoversi su e giù. La saracinesca a stelo nascosto occupa meno spazio durante l'installazione. Il mezzo trasportato entra in contatto diretto con lo stelo della valvola e il grado di apertura della valvola non può essere giudicato attraverso lo stelo della valvola. Che si tratti di una valvola a saracinesca con stelo ascendente o di una valvola a saracinesca con stelo non ascendente, la valvola a saracinesca deve essere installata orizzontalmente. Lo stelo della valvola deve essere verticale verso l'alto e non inclinato. È severamente vietato installare lo stelo della valvola verso il basso.



Notizie correlate
Lasciami un messaggio
X
Utilizziamo i cookie per offrirti una migliore esperienza di navigazione, analizzare il traffico del sito e personalizzare i contenuti. Utilizzando questo sito, accetti il ​​nostro utilizzo dei cookie. politica sulla riservatezza
Rifiutare Accettare